Unsere Beiträge
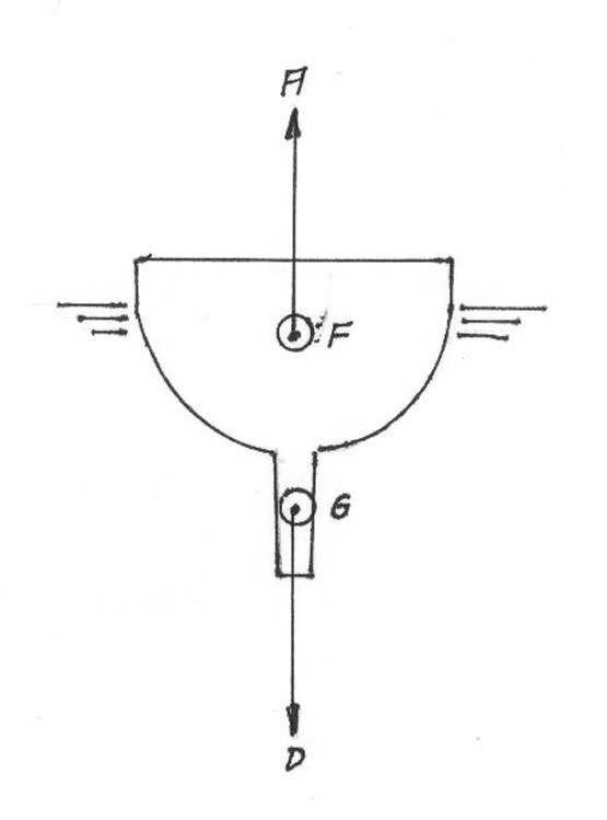
Vor langer Zeit hatte der südfranzösische Freund von Elmar Hüttenmeister, Dominique, das Modell eines Segelschiffes gebaut; schlank und mit rassigen Linien. An fünf hohen Masten trug es Wolken von weißen Segeln. Selbstverständlich hieß es France. Weniger kam für Dominique nicht in Frage. Zum Stapellauf lief das ganze Dorf zusammen. Vor lauter Begeisterung redeten alle Franzosen so laut und so schnell sie konnten durcheinander. Dominique schob seine France in die klaren Fluten des Mittelmeeres. Sie segelte mit Grandeur los, kenterte majestätisch und versank voller Würde. Schlagartig herrschte entsetzte Stille. Aber nur sieben Sekunden lang. Dann setzte ein Trauergeheul ein, noch lauter als das Triumphgeschrei vorher. Um Ihnen das schreckliche Schicksal seines Freundes Dominique zu ersparen, stellt Ihnen Elmar Hüttenmeister in der MODELLWERFT 08/2018 eine Methode vor, mit der Sie die Stabilität Ihres Neubaus vorausberechnen können.

Möchten Sie uns Ihre Veranstaltung melden?