Zum Shop

News, Galerien, Videos

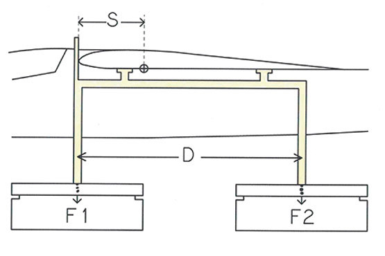
Montag, 25.06.2018 Digitale Schwerpunktwaage im Eigenbau

Haben Sie Frank Schwartz‘ Artikel über die digitale Schwerpunktwaage in der FMT 04/2018 gelesen? So ein feines Messinstrument kann man sich sogar ganz einfach selbst bauen! Dr. Horst Torunski zeigt, wie’s geht.

Artikel lesen

Zurück zur Übersicht